万亿资金博弈逻辑:机构撤退背后的盘面重构思路
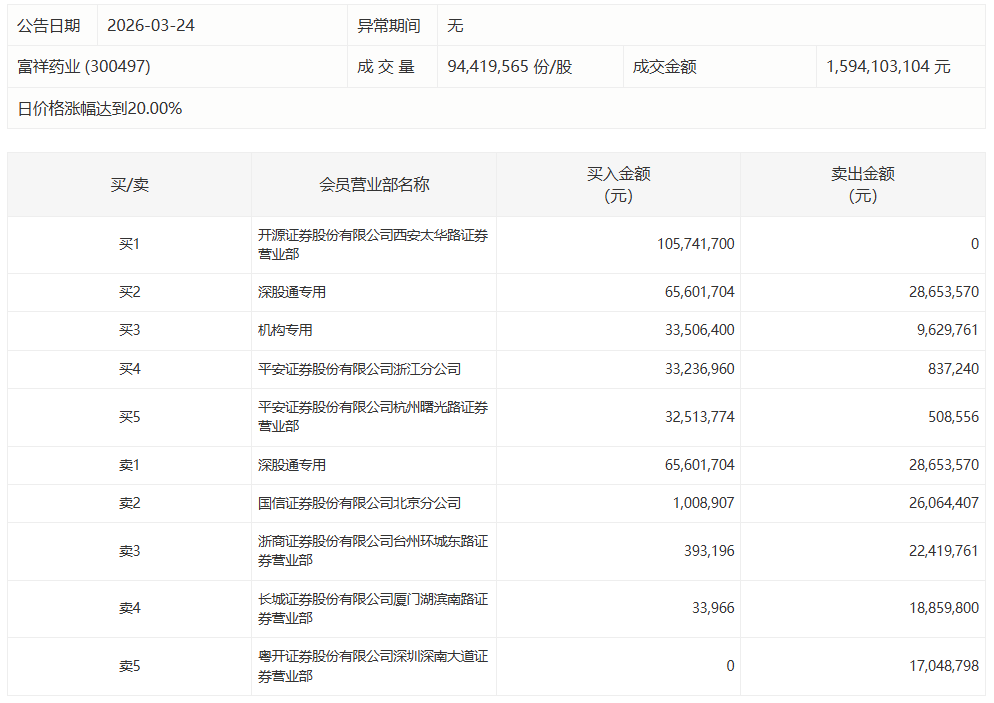
市场情绪在某个特定交易时段达到沸点。英维克股价强势触及涨停,并伴随历史高位突破。对于技术派投资者而言,这种现象不仅是单纯的K线形态,更是一场关于筹码交换与流动性博弈的精确实验。当成交额放大至数十亿元级别,换手率超过10%,意味着主力资金正在进行剧烈的换手操作。理解这一盘面波动,必须拆解龙虎榜背后的资金流向逻辑。
在这一特定交易日的复盘中,深股通与机构席位的操作路径呈现出明显的背离特征。深股通净卖出近亿元,叠加四家机构净卖出近两亿元的抛压,这种“卖出”并非简单的看空,而是基于获利了结需求与仓位平衡的战术性调整。对于交易者,必须意识到这种量能与筹码分布的非对称性,正是当前市场高位震荡的典型信号。
深度拆解:机构离场背后的量价博弈
当机构投资者选择在涨停板附近大规模净卖出时,市场往往面临多空分歧的临界点。这并非意味着公司基本面发生逆转,而是机构在策略执行层面,利用流动性充裕的涨停板窗口进行高效出货。对于跟风盘而言,理解这种“借力打力”的战术至关重要。机构并非盲目抛售,而是通过分批卖出,最大限度地减少对股价的冲击成本。这种操作手法精准且克制,是成熟资金在面对高位溢价时的标准动作。
技术层面,成交额的剧增意味着市场承接力的考验。当卖盘涌出时,若股价依然维持涨停,说明场外接力资金的入场意愿极强,或者存在主力资金通过对倒维持盘面的可能性。投资者在分析此类行情时,不能仅关注净卖出金额,更应评估换手率与分时走势的匹配度。如果换手率过高而股价滞涨,则是明显的出货信号;若换手率适中且股价封板稳健,则可能是高位筹码沉淀过程。
策略构建:高位震荡期的风险控制模型
面对英维克此类高位强势股,交易策略必须建立在严密的风控模型之上。首先,识别筹码结构,通过龙虎榜数据确认机构净流出额度,以此作为短线情绪转折的参考锚点。其次,设立强制止损位,在涨停打开或回撤幅度超过特定阈值时,必须果断执行退出策略。对于技术极客而言,量化指标如MACD在高位的背离状态,以及KDJ指标的超买区间,都是辅助决策的关键因子。
最后,关于后续走势的预判,应关注次日开盘后的竞价表现。若次日能够高开并迅速封板,说明多头力量依旧占据主导;若出现低开且伴随成交量萎缩,则预示着短期调整压力加大。交易的核心在于跟随趋势而非预测趋势,在机构净卖出的背景下,保持对盘口语言的敏感度,是实现稳健收益的唯一路径。通过对成交量、换手率及主力资金流向的动态跟踪,投资者可以构建出一套属于自己的高胜率交易系统。





